 
    地址:廣州市南沙區大崗鎮智新一路8號聯東U谷廣州南沙國際企業港7棟5樓
產品咨詢:13392693259
耗材電話:18998328368
售后服務:020-87684117
傳 真:020-87684846
Email:info@gdana.com
網址:http://www.appstribes.com/
原標題:HJ814-2016 水和土壤樣品中钚的放射化學分析方法
	
目錄
	
前言....................................................................................................................................................................II
1 適用范圍...........................................................................................................................................................1
2 規范性引用文件...............................................................................................................................................1
3 萃取色層法.......................................................................................................................................................1
3.1方法原理..................................................................................................................................................1
3.2試劑和材料..............................................................................................................................................1
3.3 儀器和設備............................................................................................................................................3
3.4 樣品........................................................................................................................................................3
3.5 分析步驟................................................................................................................................................5
3.6 結果計算................................................................................................................................................5
3.7 钚的全程放化回收率的測定................................................................................................................6
3.8 方法驗證................................................................................................................................................6
4 離子交換法.......................................................................................................................................................7
4.1方法原理..................................................................................................................................................7
4.2試劑和材料..............................................................................................................................................7
4.3儀器和設備..............................................................................................................................................8
4.4樣品..........................................................................................................................................................9
4.5分析步驟..................................................................................................................................................9
4.6結果計算................................................................................................................................................10
4.7钚的全程放化回收率的測定................................................................................................................10
4.8方法驗證................................................................................................................................................10
附錄A(資料性附錄)關于實施標準的的補充說明.......................................................................................11
附錄B(資料性附錄)儀器設備圖...................................................................................................................13
	
前言
	
為貫徹《中華人民共和國環境保護法》和《中華人民共和國放射性污染防治法》,保護環境,保障人體健康,規范環境監測方法,制定本標準。
	
本標準規定了測定水和土壤樣品中钚的放射化學分析方法。
	
本標準是對《水中钚的分析方法》(GB11225–89)、《土壤中钚的測定—萃取色層法》(GB11219.1–89)、《土壤中钚的測定—離子交換法》(GB11219.2–89)三項標準的整合修訂,所采用的分析方法原理與原標準基本一致。
	
上述三項標準首次發布于1989年,原標準起草單位為中國原子能科學研究院。本次為第一次修訂。
	
修訂的主要內容如下:
	
——對三項原標準進行了整合,合并為一項標準;
	
——刪除了原標準中關于采樣部分的內容;
	
——增加了水和土壤樣品前處理和分析過程中的個別步驟;
	
——增添了 242 Pu作為示蹤劑測定全程放化回收率;
	
——增加了對空白實驗的要求;
	
——補充了對樣品量的和化學產額指示劑的使用說明。
	
自本標準實施之日起,原國家環境保護局1989年3月16日批準、發布的三項環境保護標準《水中钚的分析方法》(GB11225–89)、《土壤中钚的測定—萃取色層法》(GB11219.1–89)、《土壤中钚的測定—離子交換法》(GB11219.2–89)廢止。
	
本標準的附錄A和附錄B為資料性附錄。
	
本標準由環境保護部核設施安全監管司、科技標準司組織制訂。
	
本標準主要起草單位:環境保護部輻射環境監測技術中心(浙江省輻射環境監測站)。
	
本標準環境保護部2016年10月12日批準。
	
本標準自2016年11月01日起實施。
	
本標準由環境保護部解釋。
	
1 適用范圍
	
本標準規定了測定地下水、地表水和土壤中钚的放射化學分析方法。核工業排放廢水中钚的測定可參照本方法。
	
本標準中的萃取色層法適用于水和土壤樣品中钚的分析測定,離子交換法適用于土壤樣品中钚的分析測定。
	
本方法的最小可探測限:水樣1×10 -5 Bq/L,土壤樣1.5×10 -5 Bq/g。
	
2 規范性引用文件
	
本標準內容引用了下列文件或其中的條款。凡是不注明日期的引用文件,其有效版本適用于本標準。
	
GB12997 水質采樣方案設計技術規范 GB12998 水質采樣技術指導 GB/T6379 測量方法與結果的準確度(正確度與精密度)HJ493 水質采樣樣品的保存和管理技術規范
	
3 萃取色層法
	
3.1方法原理
	
經過預處理的樣品制備成6~8mol/L的HNO3樣品溶液。經過還原、氧化調節钚的價態后,钚以Pu(NO3)5—或Pu(NO3)62—陰離子形式存在于溶液中。用三正辛胺-聚三氟氯乙烯色層粉萃取色層吸附钚,用鹽酸和硝酸淋洗以進一步純化钚。用草酸—硝酸混合溶液解吸。在低酸度下進行電沉積制源。最后用低本底α譜儀測量钚的活度。
	
3.2試劑和材料
	
除非另有說明,分析時均使用符合國家標準的分析純化學試劑,實驗用水為新制備的去離子水或蒸餾水。
	
3.2.1 無水氯化鈣:含量不低于96.0%。
	
3.2.2 氯化鎂:含量不低于97.0%。
	
3.2.3 氨磺酸:HO·SO2·NH2,含量不低于99.5%。
	
3.2.4 還原鐵粉:含量不低于97.0%。
	
3.2.5 亞硝酸鈉:含量不低于99.0%。
	
3.2.6 草酸:H2C2O4·2H2O,含量不低于99.8%。
	
3.2.7 聚三氟氯乙烯粉:輻照合成,40~60目。
	
3.2.8 硝酸:質量分數為65.0%~68.0%。
	
3.2.9 鹽酸:質量分數為36.0%~38.0%
	
3.2.10 氫氧化銨:質量分數為25.0%~28.0%。
	
3.2.11 二甲苯:C6H4(CH3)2,含量不低于80.0%。
	
3.2.12 乙醇:質量分數不低于99.5%。
	
3.2.13 鹽酸:c=10mol/L。
	
3.2.14 硝酸:(1+1)。
	
3.2.15 硝酸:c=3mol/L。
	
3.2.16 硝酸:c=0.1mol/L。
	
3.2.17 氫氧化銨:(1+1)。
	
3.2.18 0.025mol/L草酸-0.150mol/L硝酸溶液。
	
3.2.19 亞硝酸鈉溶液:c=4mol/L。
	
3.2.20 三正辛胺(TOA):[CH3(CH2)7]3N,含量不低于95.0%~99.0%。
	
3.2.21 氨基磺酸亞鐵溶液
	
稱取3.0g還原鐵粉(3.2.4)和12.0g氨磺酸(3.2.3),用40mL左右的硝酸(3.2.16)溶解,過濾除去不溶物,濾液用硝酸(3.2.16)稀釋至50mL棕色容量瓶中,在冰箱中保存,備用。使用期不得大于30d。
	
3.2.22 碘氫酸:質量分數不低于45.0%。
	
3.2.23 0.4mol/L碘氫酸-6.0mol/L鹽酸溶液。
	
3.2.24 精密試紙:測量范圍為pH=0.5~5.0。
	
3.2.25 硫酸:質量分數為95.0%~98.0%。
	
3.2.26 高氯酸:質量分數為70.0%~72.0%。
	
3.2.27 氫氟酸:質量分數不低于40.0%。
	
3.2.28 硝酸鋁:Al(NO3)3·9H2O,含量不低于99.0%。
	
3.2.29 TOA-二甲苯溶液:將1份TOA與9份二甲苯按體積比混合。
	
3.2.30 239 Pu、 242 Pu標準指示劑:不確定度≦2%。
	
3.2.31 239 Pu標準平面電鍍源:不確定度≦2%。
	
3.3 儀器和設備
	
3.3.1 低本底α譜儀。
	
3.3.2 分析天平:可讀性0.1mg。
	
3.3.3 離心機:最高轉速4000r/min,容量250mL×4,100mL×4。
	
3.3.4 電動攪拌器:25~60W,最高轉速2000r/min。
	
3.3.5 聚乙烯塑料桶:容量60L。
	
3.3.6 玻璃萃取色層柱:見附錄B(資料性附錄)圖B.1。
	
3.3.7 電沉積裝置:見附錄B(資料性附錄)圖B.2。
	
3.3.8 聚四氟乙烯燒杯:容量100mL。
	
3.3.9 玻璃萃取色層柱的準備
	
3.3.9.1 色層粉的調制:每1.0g聚三氟氯乙烯粉(3.2.7)加入2.0mLTOA-二甲苯溶液(3.2.29)充分攪拌均勻后放置或在紅外燈下烘烤,使二甲苯揮發并呈現松散狀,用水懸浮法除去懸浮的細粉后貯存在棕色的玻璃瓶中備用。
	
3.3.9.2 色層柱的制備:用濕法將色層粉(3.3.9.1)裝入色層柱(3.3.6)中,柱的上下兩端用少量的聚四氟乙烯細絲填塞,床高60mm,使用前用20mL硝酸(3.2.14)以2mL/min流速通過柱子以平衡柱上的酸度。
	
3.3.9.3 色層柱的再生:依次用10mL0.025mol/L草酸-0.150mol/L硝酸溶液(3.2.18),20mL水,20mL硝酸(3.2.14)以2mL/min流速通過色層柱,備用。
	
3.4 樣品
	
3.4.1 采集和保存
	
按照GB12997、GB12998和HJ493中的相關規定進行樣品的采集和保存。
	
3.4.2 樣品的前處理水樣
	
3.4.2.1 將水樣靜置12h以上。
	
3.4.2.2 從靜置后的水樣中抽取50L上層清液放入60L的聚乙烯塑料桶中,加入一定量的钚化學產額指示劑 242 Pu(3.2.30),加入50mL氫氧化銨(3.2.10),攪拌均勻后加入15g無水氯化鈣(3.2.1),30g氯化鎂(3.2.2),待完全溶解,攪拌均勻后,再緩慢加入氫氧化銨(3.2.10),調節pH值為9~10,繼續攪拌60min以上,然后靜止12h以上。
	
3.4.2.3 抽去上層清液,將剩下的少量上層清液和沉淀一起轉入250mL離心管中,離心10~15min(轉速為3000r/min)棄去上層清液,再用200~300mL蒸餾水洗滌塑料桶后轉入原離心管中,并將沉淀物攪拌洗滌后再離心10~15min(轉速3000r/min),棄去洗滌液。
	
3.4.2.4 用80mL硝酸(3.2.15)洗滌攪拌棒和塑料桶壁,然后將洗滌液倒入250mL的玻璃燒杯中,再用70mL硝酸(3.2.14)重復洗滌一次,合并兩次洗滌液并用來溶解離心管中的沉淀,將溶解后的溶液采用快速濾紙過濾,并用10mL硝酸(3.2.14)洗滌濾紙及殘渣,收集過濾液,按3.5步驟分離純化。土壤樣
	
3.4.2.5 硝酸浸取法:從土壤試樣中稱取30.0g的試樣,準確到0.1g,置于250mL燒杯中,加入一定量的钚化學產額指示劑 242 Pu(3.2.30),緩慢加入硝酸(3.2.14)70mL,攪拌均勻后放在電爐上加熱煮沸10~15min(防止崩濺和溢出),冷卻至室溫后將浸取液和沉淀轉移至100mL離心管中離心10~15min(轉速為3000r/min),收集上層清液。再用40mL硝酸(3.2.14)將沉淀轉移至原燒杯中再重復加熱浸取一次,將兩次上層清液合并。沉淀用30mL硝酸(3.2.15)、30mL水分別洗滌一次,離心,上層清液與前兩次上層清液合并(稱為A液)按3.5步驟分離純化。
	
3.4.2.6 硫酸-高氯酸-硝酸-氫氟酸-鹽酸溶解法:從土壤試樣中稱取5.00g試樣,準確到0.01g,置于200mL燒杯中,加入一定量的钚指示劑 242 Pu(3.2.30),加入5mL硫酸(3.2.25),5mL高氯酸(3.2.26)攪拌均勻后蓋上表面皿在電爐砂浴上消化1h,再趁熱加入5mL高氯酸(3.2.26)繼續加熱消化1~1.5h,去掉表面皿蒸干。然后將殘渣轉入100mL聚四氟乙烯燒杯中,依次用10mL高氯酸(3.2.26),10mL硝酸(3.2.8)分多次洗滌原燒杯。洗滌液轉入聚四氟乙烯燒杯中,再加入20mL氫氟酸(3.2.27),加蓋在約200℃砂浴上微沸3~4h后去蓋蒸發至干。殘渣呈淡綠色或淡黃色。用50mL硝酸(3.2.15)將殘渣轉至100mL燒杯中加熱溶解,離心(轉速3000r/min)10~15min,收集上層清液。用25mL硝酸(3.2.15)將沉淀轉移至原燒杯中,重復以上操作,合并兩次上層清液。用10mL鹽酸(3.2.9)再將沉淀轉移至原燒杯中,加熱蒸發至干,用10~15mL硝酸(3.2.15)加熱溶解殘渣,并與前兩次上層清液合并。同時加入5g硝酸鋁(3.2.28)(稱為B液)按3.5步驟分離純化。如果殘渣用50mL和25mL硝酸(3.2.15)兩次加熱能完全溶解時,則可省去10mL鹽酸(3.2.9)處理這一步驟。
	
3.5 分析步驟
	
3.5.1 分離純化
	
3.5.1.1 按每100mL上述溶液(3.4.2.4或3.4.2.5A液或3.4.2.6B液)加入0.5mL氨基磺酸亞鐵溶液(3.2.21),進行還原,放置5~10min,再加入0.5mL亞硝酸鈉溶液(3.2.19),進行氧化,放置5~10min,然后在電爐上煮沸溶液,使過量的亞硝酸鈉完全分解,冷卻至室溫。
	
3.5.1.2 將上述溶液(3.5.1.1)的酸度調至6~8mol/L,并以2mL/min的流速通過已裝好的色層柱。用10mL硝酸(3.2.14)分多次洗滌原燒杯,洗滌液以相同的流速通過色層柱。
	
3.5.1.3 依次用20mL鹽酸(3.2.13),30mL硝酸(3.2.15)以2mL/min的流速洗滌色層柱,最后用2mL蒸餾水以1mL/min的流速洗滌色層柱。
	
3.5.1.4 在不低于10℃條件下,用0.025mol/L草酸-0.150mol/L硝酸溶液(3.2.18),以1mL/min的流速解吸钚,并將解吸液收集到已準備好的電沉積槽中(3.3.7),用氫氧化銨(3.2.17)調節電沉積槽中的解吸液的pH值為1.5~2.0。
	
3.5.2 電沉積制源與測量
	
3.5.2.1 將上述電沉積槽(3.5.1.4)置于流動的冷水浴中,極間距離為4~5mm,電流密度在500~800mA/cm 2下,電沉積60min,然后加入1~2mL氫氧化銨(3.2.10),繼續電沉積1~3min,斷開電源,棄去電沉積液,并依次用水和乙醇(3.2.12)洗滌鍍片,而后在紅外燈下烘干。在電爐上400℃下灼燒1~3min。
	
3.5.2.2 將鍍片(3.5.2.1)置于低本底α譜儀(3.3.1)上測量。
	
3.6 結果計算
	
樣品中钚的放射性活度濃度,按照公式(1)進行計算。
	
	 
	
3.7 钚的全程放化回收率的測定
	
在分析水樣中(或經烘干、研磨后定量分析的土壤樣中),加入一定量的钚( 242 Pu)指示劑,按本標準3.4.2~3.5.2條操作,并按照公式(2)計算钚的全程放化回收率Y。
	
	 
	
3.8 方法驗證
	
3.8.1 空白實驗
	
定期進行空白實驗;每當更換試劑時,應進行空白實驗;每批樣品分析時,應進行空白實驗。
	
3.8.1.1 水樣
	
樣品數不能少于5個。量取50L蒸餾水于聚乙烯桶中,按本標準3.4.2水樣~3.5.2條操作。并計算空白樣品的平均計數率和標準偏差。
	
3.8.1.2 土壤樣樣品數不能少于4個。
	
(1)酸浸取法:量取120mL硝酸(3.2.14)置于200mL燒杯中,按本標準3.5.1~3.5.2條操作,采取和樣品相同的條件測量空白樣品的計數率。計算空白樣品的平均計數率和標準偏差。檢驗其與儀器的本底計數率在95%的置信水平下是否有顯著性的差異。
	
(2)酸溶解法:不加試樣而按本標準3.4.2.6~3.5.2條操作,其測量、計算和檢驗均同本標準3.7條。
	
3.8.2精密度
	
3.8.2.1水樣
	
根據GB/T6379的相關規定,實驗確定的精密度,見表1。
	
	 
	
4 離子交換法
	
4.1方法原理
	
經過預處理的樣品制備成7~8mol/L的HNO3樣品溶液,然后用強堿性陰離子交換樹脂分離純化钚,用鹽酸和硝酸淋洗以進一步純化钚。用鹽酸-氫氟酸溶液解吸钚。在硝酸-硝酸銨溶液中電沉積制源。用低本底α譜儀測量。
	
4.2試劑和材料
	
除非另有說明外,分析時均使用符合國家標準的分析純化學試劑,實驗用水為新制備的去離子水或蒸餾水。
	
4.2.1 亞硝酸鈉:含量不低于99.0%。
	
4.2.2 氫氧化銨:質量分數為25.0%~28.0%。
	
4.2.3 無水乙醇:質量分數不低于99.5%。
	
4.2.4 鹽酸:質量分數為36.0%~38.0%。
	
4.2.5 硝酸:質量分數為65.0%~68.0%。
	
4.2.6 氫氟酸:質量分數不低于40.0%。
	
4.2.7 精密試紙:測量范圍為pH=0.5~5.0。
	
4.2.8 氨磺酸:HO·SO2·NH2,含量不低于99.5%。
	
4.2.9 還原鐵粉:含量不低于97.0%。
	
4.2.10 氫氧化胺:(1+1)。
	
4.2.11 鹽酸:c=8.0mol/L。
	
4.2.12 硝酸:(1+1)。
	
4.2.13 硝酸:c=3.0mol/L。
	
4.2.14 硝酸:c=0.1mol/L。
	
4.2.15 亞硝酸鈉溶液:c=4.0mol/L。
	
4.2.16 0.36mol/L鹽酸-0.01mol/L氫氟酸溶液。
	
4.2.17 氨基磺酸亞鐵溶液稱取3.0g還原鐵粉(4.2.9)和12.0g氨磺酸(4.2.8)用硝酸溶液(4.2.14)溶解,過濾除去不溶物,濾液用水稀至50mL,密閉于棕色瓶中低溫保存,備用。使用期不得大于30d。
	
4.2.18 陰離子交換樹脂251×8。
	
4.2.19 0.150mol/L硝酸銨-0.150mol/L硝酸溶液。
	
4.2.20 239 Pu、 242 Pu標準指示劑:不確定度≦2%。
	
4.2.21 239 Pu標準平面電鍍源:不確定度≦2%。
	
4.3儀器和設備
	
4.3.1 低本底α譜儀。
	
4.3.2 分析天平:可讀性0.1mg。
	
4.3.3 離心機:最高轉速4000r/min,容量400mL×4。
	
4.3.4 玻璃交換柱:見附錄B(資料性附錄)圖B.1。
	
4.3.5 電沉積裝置:見附錄B(資料性附錄)圖B.2。
	
4.3.6 聚四氟乙烯燒杯:容量100mL。
	
4.3.7 離子交換樹脂的活化:將陰離子交換樹脂(4.2.18)研磨過篩60~80目,用無水乙醇(4.2.3)浸泡24h,傾出漂浮物,并用蒸餾水洗滌若干次,漂去懸浮物,最后用硝酸(4.2.14)浸泡,裝瓶備用。
	
4.3.8 離子交換樹脂的裝柱:用濕法將離子交換樹脂(4.3.7)自然下沉裝入交換柱中,柱的上下兩端用少量的聚四氟乙烯細絲填塞,床高70mm。然后用20mL硝酸(4.2.12)以3mL/min流速通過柱子,備分離純化用。
	
4.4樣品
	
4.4.1采集和保存
	
樣品的采集和保存應符合GB12997、GB12998和HJ493中的規定。
	
4.4.2樣品的前處理
	
土壤樣從土壤試樣中稱取30.0g,準確到0.1g,置于250mL錐形瓶中,加入一定量的钚化學產額指示劑 242 Pu(4.2.20),緩慢加入硝酸(4.2.12)70mL,攪拌均勻后放置電爐上加熱,錐形瓶上蓋一個小漏斗。煮沸15~20min,冷卻至室溫后,將浸取液用快速濾紙過濾或用離心機離心分離。再用50mL硝酸(4.2.12)重復上述操作一次。若土壤污染嚴重可用50mL硝酸再重復一次。過濾上層清液,沉淀用30mL蒸餾水洗滌一次,過濾,合并濾液供分析用,此液稱為C液。按4.5步驟分離純化。
	
4.5分析步驟
	
4.5.1 分離純化
	
4.5.1.1 C液每100mL加入0.5mL氨基磺酸亞鐵溶液(4.2.17)還原5~10min,再加入0.5mL亞硝酸鈉溶液(4.2.15)氧化5~10min,煮沸溶液使過量的亞硝酸鈉完全分解,冷卻至室溫。
	
4.5.1.2控制溶液的酸度為7~8mol/L,以1mL/min的流速通過已裝好樹脂的交換柱,用10mL硝酸(4.2.12)分兩次洗滌原燒杯。洗滌液以相同的流速通過交換柱。
	
4.5.1.3 依次用30mL鹽酸(4.2.11)和40mL硝酸(4.2.12),3mL硝酸(4.2.13)和1mL硝酸(4.2.14)洗滌交換柱,其流速為2mL/min。
	
4.5.1.4 在不低于20℃條件下,用8.0mL0.36mol/L鹽酸-0.01mol/L氫氟酸溶液(4.2.16)以0.2mL/min的流速解吸,解吸液收集在50mL小燒杯中,在電砂浴上緩慢蒸干。用8mL0.150mol/L硝酸銨-0.150mol/L硝酸溶液(4.2.19)分三次洗滌小燒杯,并將其用滴管轉移到電沉積槽中。
	
4.5.2電沉積制源與測量
	
4.5.2.1 將上述電沉積槽(4.5.1.4)置于流動的冷水浴中,極間距離為10~15mm,電流密度為900~1200mA/cm 2下電沉積1.5h。終止前加入1~2mL氫氧化銨(4.2.2)繼續電沉積1~3min,斷開電源,棄去電沉積液,依次用水和無水乙醇(4.2.3)洗滌鍍片,并在紅外燈下烘干。在電爐上400℃下灼燒1~3min。
	
4.5.2.2 將鍍片(4.5.2.1)置于低本底α譜儀(4.3.1)上測量。
	
4.6結果計算
	
土壤樣品中钚的放射性活度濃度(Bq/kg),按照公式(3)進行計算。
	
	 
	
4.7钚的全程放化回收率的測定
	
在經烘干、研磨后需定量分析的土壤樣中,加入一定量的钚(242 Pu)指示劑,按本標準4.4.2~4.5.2條進行操作,并按照公式(4)計算钚的全程放化回收率Y。
	
4.8方法驗證
	
4.8.1空白實驗
	
定期進行空白實驗;每當更換試劑時,應進行空白實驗;每批樣品分析時,應進行空白實驗。量取150mL硝酸(4.2.12)置于250mL燒杯中,按本標準4.5.1~4.5.2條進行操作,采用和樣品相同的條件測量空白樣品的計數率。計算空白樣品的平均計數率和標準偏差。檢驗其與儀器本底計數率在95%的置信水平下是否有顯著的差異。
	
4.8.2精密度
	
當钚的總活度小于10Bq時,同一實驗室的相對標準偏差小于20%。
	
附錄A
(資料性附錄)
關于實施標準的補充說明
	
A.1按公式(A.1)決定試樣的計數時間(min)
	
	 
	
A.2無法取得 242 Pu時,可以用 236 Pu替代作為化學產額指示劑。
	
A.3水或土壤分析的樣品量可視钚的水平而定。樣品量增加時,樣品前處理所用的試劑量可適當調整。
	
A.4萃取色層法分析土壤樣品時:
	
(1)聚三氟氯乙烯粉(輻照合成40~60目)與硅烷化102白色擔體(60~80目)的效果相同。因此,可根據各個實驗室的具體條件任意選用。 (2)采用三脂肪胺(TAA)作萃取劑時,其效果與采用三正辛胺(TOA)一樣。
	
(3)當土壤中含有難溶性的钚時,應采用硫酸-高氯酸-硝酸-氫氟酸溶解法對土壤試樣進行前處理。
	
(4)當A和B兩種溶液由于離心不好仍有少量沉淀時,可用快速濾紙過濾后,再通過萃取色層柱。
	
(5)當酸浸取液中出現不溶物質時,需經過離心,收集上層清液,沉淀用酸溶解法(見本標準3.4.2.6)處理后所得溶液與上層清液合并,再通過萃取色層柱。
	
(6)萃取色層法對镎的去污系數偏低,當土壤試樣中含有干擾核素镎時,用α譜儀進行測量或用碘氫酸-鹽酸溶液(3.2.23)解吸钚,其步驟如下:
	
將8.0mL0.025mol/L草酸-0.150mol/L硝酸溶液(3.2.18)改用8.0mL0.4mol/L碘氫酸-6.0mol/L鹽酸溶液(3.2.23)以1mL/min流速解吸,用小燒杯收集解吸液,在電砂浴上緩慢蒸干(防止崩濺)。
	
將蒸干的殘渣用8.0mL0.025mol/L草酸-0.150mol/L硝酸溶液(3.2.18)分多次溶解,并轉移到電沉積槽中,以后操作步驟和測量、計算均見本標準3.5.2條及3.6條。
	
附錄B
(資料性附錄)
儀器設備圖
	
B.1玻璃萃取色層柱/玻璃離子交換柱見圖B.1。
	
B.2電沉積槽裝配圖見圖B.2。
	
	 
	
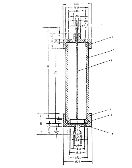
圖B.1玻璃萃取色層柱/玻璃離子交換柱
	
	 
	
圖B.2電沉積槽裝配圖
	
1-蓋(有機玻璃或聚四氟乙烯);2-液槽(有機玻璃或聚四氟乙烯);3-陽極(鉑金絲φ1.5);
	
4-底座(不銹鋼);5-陰極(不銹鋼片,厚0.5mm);6-墊片(不銹鋼片,厚0.2mm)